自吸离心泵的基本原理
1.泵送的液体必须能够以气泡的形式夹带空气,以便空气将从泵的吸入端除去。
2.叶轮排出混合物后,必须允许空气与液体分离。
3.必须允许分离的空气通过泵排气口逸出或被扫出。
结论
在排放管道之间可以安装一个小的空气排放管道泵并将排泄止回阀送回吸入源。
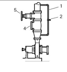
1.抽气。
2.放气阀。
3.底阀
4.止回阀
5.放电隔离阀
自吸泵系统有两种基本的变化
- 再循环从蓄水池回吸。
- 再循环内部有排出物和叶轮本身。
再循环到吸力
在排放池中设置有循环口。在泵第一次启动之前,储液器已充满液体。当泵启动时,叶轮将进入泵内的液体通过再循环口和吸入管路中的一定量的空气进行处理,将空气和液体的混合物排到储液器中,在储液器中两种元件分离。
在放电处再循环
这种形式的启动与前一种方法的区别在于,引液不会返回到泵的吸力中,而是与叶轮内或其周边的空气混合。这种方法的主要优点是它消除了内部气门机构的复杂性。





