Priming of a centrifugal pump is done by filling the pump with a liquid service that replaces air or other gases / vapor. This is done mainly to avoiddry running of a centrifugal pump. Following steps explain how centrifugal pump priming is to be done.
Steps for centrifugal pump priming
A. Prime the pump with the suction supply above the pump
I. Slowly open the suction isolation valve.
II. Open the air vents on the suction and discharge piping until the pumped fluid flows out.
3Close the air vents.
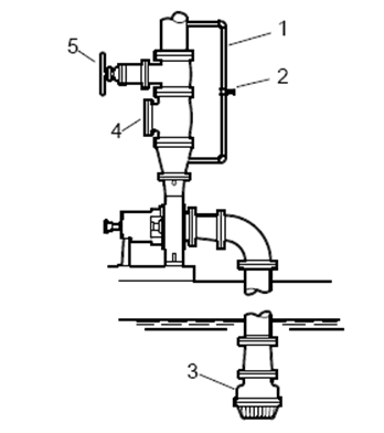
Suction supply above the pump
1. Discharge isolation valve
2. Check valve
3. Suction isolation valve
B. Prime the pump with the suction supply below the pump
Use a foot valve and an outside source of liquid in order to prime the pump.
The liquid can come from one of these sources:
• A priming pump
• A pressurized discharge line
• Another outside supply
Typical steps for pump priming
I. Close the discharge isolation valve.
II. Open the air vent valves in the casing.
3打开弗吉尼亚州lve in the outside supply line until only liquid escapes from the vent valves.
IV. Close the vent valves.
V. Close the outside supply line.
This illustration is an example of priming the pump with a foot valve and an outside supply:
Suction supply below the pump
1. Discharge isolation valve
2. Shutoff valve
3. from outside supply.
4. Foot valve
5. Check valve
This illustration is an example of priming the pump with a foot valve using a bypass around the check valve:
Pump with a foot valve using a bypass around the check
1. By-pass line
2. Shutoff valve
3. Foot valve
4. Check valve
5. Discharge isolation valve Other
More related articles about centrifugal pump cavitation, it's causes and prevention -
- Definitionof pump cavitation
- Causes for centrifugal pump cavitation
- Damages to due to pump cavitation
- How to prevent pump cavitation
- More details andimportance of pump priming








